Известный инсайдер Эван Бласс (@evleaks) в своем Twitter рассказал, что южнокорейская компания LG на выставке CES 2019 в начале января представит собственный складной смартфон. Об этом сообщил портал @hi-tech.
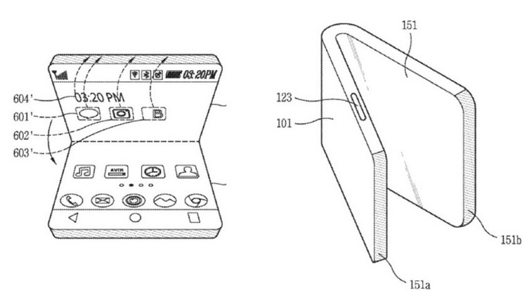
О смартфоне LG пока нет информации, компания держит все в секрете. В наличии только патенты, в которых смартфон складывается вертикально, как старые раскладушки. При открытии появляется единый большой экран без клавиатуры.
Еще сложенный смартфон можно закрепить на верхнем кармане рубашки. В таком случае устройство превращается в экшен-камеру и можно записывать видео от первого лица.
Такой подход кардинально отличается от Samsung, у которой смартфон открывается как книжка и превращается в большой планшет. Также в гонке складных смартфонов участвует компания Huawei, она представит его в феврале на MWC 2019.


